-
当前位置:芯师爷
- 首页
- 热点资讯
近日,四川洪芯微科技有限公司(以下简称:洪芯微科技)旗下资产被挂至阿里拍卖网,引发市场关注。

图源:阿里资产
根据拍卖信息,本次拍卖标的包含洪芯微科技旗下芯片工厂、土地、生产设备、产品及原材料等资产,起拍价格共计3493.28万元,约为评估价的70%。开拍日期为2023年12月6日,拍卖缘由备注为“企业破产”。
据洪芯微科技官方微信公众号介绍:四川洪芯微科技有限公司成立于2014年8月,投资1.5亿元,位于四川省射洪县西部国际技术合作产业园,是一家专业从事先进功率半导体芯片设计、生产、销售及技术服务的有限责任公司。
更多公开资料表明,洪芯微科技主要产品有GPP、TVS、Schottky、FRD、Triacs、TSPD等。
芯师爷追溯洪芯微科技官方微信公众号内容,其账号内容主要为招聘信息,最早内容更新于2014年12月。

图源:洪芯微微信公众号
从成立到破产,洪芯微科技走了9年,这期间,这家企业经历了什么?
洪芯微科技一度是被寄予厚望的四川遂宁现代产业高端突围项目之一。
以往的公开报道较为清晰地展示了洪芯微科技的发展历程:
2014年8月洪芯微科技成立于四川遂宁。
2015年6月(另有报道称8月),洪芯微科技4英寸功率半导体芯片投产,成功生产第一颗芯片诞生。该芯片的诞生被认为是“实现了遂宁电子产业从‘切芯片’到‘造芯片’的新跨越。”
2017年达到产能30万片,实现国内产销量前三名的目标。
2018年启动50万片/月生产计划。
2019年5月,其官方微信公众号发布最后一则“急聘”启事,同时透露公司拥有员工150余人,超过150家的客户,产销50万片/月以上。

图源:洪芯微微信公众号
2020年,公司入选省专精特新中小企业培育名单。
2022年,公司先后被评为 “知识产权优势企业”“高新技术企业”。

图源:企查查
2022年4月,公司最后一次在职位招聘平台中招聘员工。
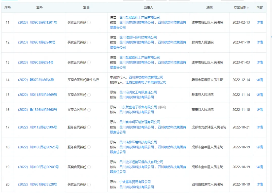
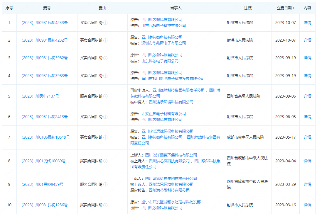
2022年10月起,公司与合作方频发冲突,多次发生买卖合同纠纷和服务合同纠纷,位列被告和原告的案件均有之。


图源:企查查
2023年1月,被法院裁定受理破产清算。

图源:射洪市人民法院
2023年11月,正式被挂至阿里资产平台,宣告被公开拍卖。
不同于一般的初创企业破产,洪芯微科技成立的时间有9年,在企业成立之处和开始的几年间发展也较为顺利,但在今年企业整体发展戛然而止,市场将主因归于“下行周期中,分立器件行业存货减值,大打价格战”,而洪芯微科技就是“价格战”的落败者。
据阿里资产网站上传的“资产评估明细”文档资料显示,破产清算时,洪芯微科技存货减值达到5100万元,减值率为58.16%,设备等固定资产升值9.76%。
图源:阿里资产
在科创板日版的采访中,国内知名分立器件同行也证实了价格战的存在:“今年整个市场都在降低(价格)销售,行业竞争非常激烈。”
尽管当前全球半导体行情不景气,但一家成立多年的半导体企业因承压能力不足而结束经营的案例并不多见,更多的企业会选择裁员或者在宣告破产前以被收购的方式来度过难关。为何洪芯微科技却走上了“企业破产拍卖”这条路呢?

图源:企查查
从企查查公开信息可查,2022年,洪芯微科技的参保人数仅67人,较2019年公开资料显示的150名员工数量减半。换而言之,裁员在洪芯微科技内部已经发生过,但并不能解决其企业运营问题。公司最大的困难或还在于深陷行情下跌和价格战的泥潭中不能自拔,无法获得更多的营收。
只是为何这样一家老牌的功率器件企业没有被收购而是被拍卖值得探究一番。
据了解,破产拍卖是指在企业破产清算过程中,将企业的资产和负债出售给最高出价者。破产拍卖的目的是为了偿还企业的债务,并使企业的资产得到最大限度的利用。
相比资产被分开拍卖而言,被收购的企业拥有更大的议价权和能最大程度保持其企业运营,显然是更好的选择。
但最终洪芯微科技还是被挂上了拍卖网站,其中缘由具体如何不得知。不过业内猜测,可能与以下原因相关。
首先,半导体企业考虑收购标的主要是为了获得新的技术和资源,提高生产规模和市场占有率。洪芯微科技在技术水平和产品竞争力上表现或不佳,这也是其产品无法创造更多的营收的主因,这种企业并不能吸引国内外功率器件企业的收购意愿,对于经营不善的企业,其它企业也会担心收购后无法解决企业经营的根本问题。
其次,从洪芯微科技的拍卖页面来看,洪芯微科技芯片工厂、土地、生产设备、产品及原材料等资产总价格仅近3500万元。在半导体产业,这样的资产价值算低,很难找到愿意出高价收购的企业。
最后,当前整个分立器件市场并不景气。就在2023年10月,同为分立器件企业的南京鑫越极芯半导体公司也已经宣告破产,目前待进入资产清算环节。据悉,该企业成立于2020年,主因也是市场变化导致营收不及预期。


图源:富昌电子
国际分立器件巨头如安森美、意法半导体等占据市场主导地位,从其货期和价格趋势来看,表现平平,近期并没有出现强市场驱动力。而在国内市场中,据芯师爷最新文章《净利最高增5094%!A股半导体企业最新业绩梳理!》统计,士兰微及扬杰科技等在分立器件市场有重要布局的企业营收情况也并不理想。市场的寒风吹走了企业们的并购意愿。
实际上,近年来走上拍卖网站的企业也并不仅是洪芯微科技一家。京东拍卖和阿里资产均有半导体企业资产被拍卖的案例。


图源:京东拍卖
从半导体企业资产被拍卖的实际情况来看,交易情况并不理想,一是成交的案例较少,半导体企业的资产尽管一再降价,但在拍卖平台中仍有多次流拍的案例。半导体企业被拍卖的资产中,土地资源和设备是市场较为关注的标的,而像芯片成品和材料等资产乏人问津。

图源:京东拍卖
二是即便是成交的半导体资产拍卖案例,价格基本也停留在起拍价即被售出。目前业内最大的半导体拍卖成交案例现于京东拍卖平台。京东拍卖公开资料显示,德淮半导体规划总投资450亿元,其中,一期投资120亿元,占地257亩,计划建设年产24万片12英寸CIS晶圆厂。截至德淮半导体资产被接管拍卖之时,其实际的项目投入为46亿元。而德淮半导体整体资产的拍卖价仅为16.6616亿元,实际成交价也止步于此,远低于德淮半导体整体资产的评估价238021.838845万元,以及该项目已经实际投入的46亿元。
从被拍卖的半导体企业来看,国内企业并不缺乏可收购的企业,甚至可收购的企业要价并不高,但仍被拒绝。
其中和市场行情相关,但恐怕更相关的因素在于这些可收购的企业并不具备核心的产品竞争力,产品并不具备差异性创新。如果并购标的和企业原有的产品技术有高度重叠性,市场竞争力不足,这样的并购对于半导体企业而言并无意义。这或是这些企业走向“破产拍卖”的核心原因,其中的警示与业内企业共勉。
参考资料:科创板日报《四川一芯片企业遭7折拍卖 折射分离器件行业激烈淘汰赛》
相关文章
查看更多
>>
2026观众预登记火热开启! 深度聚焦产业核心,与行业大咖论道前沿,这场光电盛会不容错过!
覆盖全“芯”链路!IICIE国际集成电路创新博览会解锁集成电路全链新商机
极海正式推出G32A1425系列精简高效汽车通用MCU
发表评论 取消回复